
乐居财经 李兰 1月7日,深圳智岩科技股份有限公司(以下简称:智岩科技)披露首次公开发行股票并上市的辅导工作进展情况报告(第三期),辅导机构为。
智岩科技成立于2017年,注册资本3895.4万元,主营智能家电及照明产品。目前,智岩产品涵盖智能氛围照明系列、智能小家电系列,公司旗下智能硬件品牌Govee在全球多个市场占有率长期位于前列。
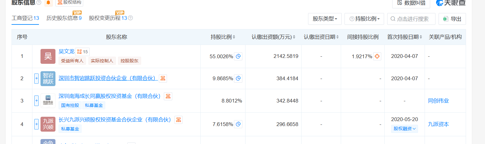
智岩科技由董事长、经理吴文龙持股55%,是公司控股股东,高瓴创投、九派资本等参投。

据智岩科技官网介绍,吴文龙为创始人之一,前安克创新CTO。
公开资料显示,吴文龙出生于1983年,来自江苏省南京市鼓楼区,在安克创新担任CTO期间,他曾深度参与公司从初创到行业知名品牌的崛起历程。安克创新在消费电子充电设备领域成绩斐然,并于2020 年8 月成功上市。